Below are some pictures of the linkage which connects the steering
wheel to the center drag link. These parts are definetly wear items,
and interestingly many aftermarket shops will never suggest replacing
them. The result often seems to be vehicle that the owner has spent a
considerable sum of money on, but still finds "the steering feels
loose" and "the steering returns to center poorly after turns".
Note: Most of the images on
this page can be enlarged by clicking the left mouse button on the
appropriate picture in your web browser. If a red X appears instead of
an image, clicking the right mouse button in your web browser will
reveal a menu with the option to "show picture" which will attempt to
reload the selected picture from this server.





Notes:
The column and associated linkage pictured is from a 2002 mercury grand
marquis ls involved in a passenger side impact collision. The steering
gear is from a 2002 crown victoria police interceptor. All 1990-2002
crown victorias share a similary designed steering column and gear
linkage setup.
Though only the 1995-2002 parts are directly interchangeable. However,
you can install the entire column and linkage setup pictured above into
a 1992-1994 crown victoria if you also change the transmission gear
selector cable for a 1995+ one with the new style linkage at the
steering column side.
The steering feel in these cars can rival many rack and pinion
vehicles. But then again, the 100k mile police cruiser that you may
purchase at auction for a small fraction of it's original dealer
sticker price is somewhat likely to have numerous worn parts in it
which make the vehicle handle rather poorly.
The linkage parts pictured above do have surface corrosion present on
them as they are from a vehicle with around 20k miles on them that had
been driven through a "new england" winter season. In this area of the
country, high concentrations of chloride salts are used to clear the
roadways of snow and ice which hastens corrosion.
There is also an internal steering column joint at the area where the
column tilts upwards and downwards. There are also a few internal
bearings that the shaft rides on. However, disassembled pictures of the
steering column are not pictured at this time. And wear on these
components can be very difficult to detect.
The body of your crown victoria "floats on the
frame" as you drive down the road. The body mounts are constantly
compressing and expanding when the vehicle is moving. And the frame
itself also flexes to some extent. There will be a great deal of
movement in a rural sheriffs car that travels down rough unpaved "scrub
board" roads at 100MPH in relation to a civilian car that travels at
30MPH over smooth paved roads.
Interestingly, the only parts of the above pictures that some crown vic
owners may be familar with are the steering wheel, gear shifter lever,
and ignition lock. The other parts are hidden under the dashboard and
in the engine bay behind the power brake booster.
The u-joint located in the engine bay after the shaft passes through
the firewall is located somewhat close to the exhaust manifold. If your
vehicle idles in high desert heat frequently, you may find that the
grease inside the joint "dries up" rather quickly. Do not attempt to
add new grease or other lubricants, instead install a new steering
shaft service assembly.
The lower shaft has friction between the two parts which move. Over
time, the two metal tubes wear away as the vehicle is driven. For
another example of friction in action, you can rub some sandpaper over
a peice wood and note how material is lost in the process.
Missing Parts: The linkage that connects to the gear does not have the
"stone guard" plastic covering present at the gear side like you'll
find in production vehicles. Also note that some of the bolts that
clamp the joints together are "missing". The "air bag" is also missing
from the steering wheel.
Other benefits of replacing steering column with late model low mileage
unit. Repaired worn transmission gear selector related hardware that
caused the handle to feel loose and could have possibly caused internal
damage to the transmission assembly. Replaced shift tube with one that
isn't fatigued down low around the bearing where they sometimes snap on
fleet vehicles. Added insulation back to the
overdrive cancel switch wire so that it isn't chaffed and won't cause
difficult to diagnose electrical problems by shorting out on the
grounded metal surface of the steering column assembly. Repaired
corroded multifunction switch that sometimes caused the turn signals to
flash too fast and the hazard flashers to sometimes flash only on one
side.
------------------------------------------------------------------------------------------------------
And a couple pictures of a 1999 crown victoria police interceptor with
the engine removed.
Take note that this vehicle was not equipped with ABS anti-lock brakes,
so there isn't an ABS hydraulic control unit mounted above the steering
gear.
And also, that the "stone guard" is present on the end of the
lower steering shaft where it connects to the steering box.

And a couple pictures from underneath a 1997 crown victoria with the
transmission and catalytic converter removed but the engine still
present. Take note of how close the midshaft u-joint is located to the
drivers side exhaust manifold.


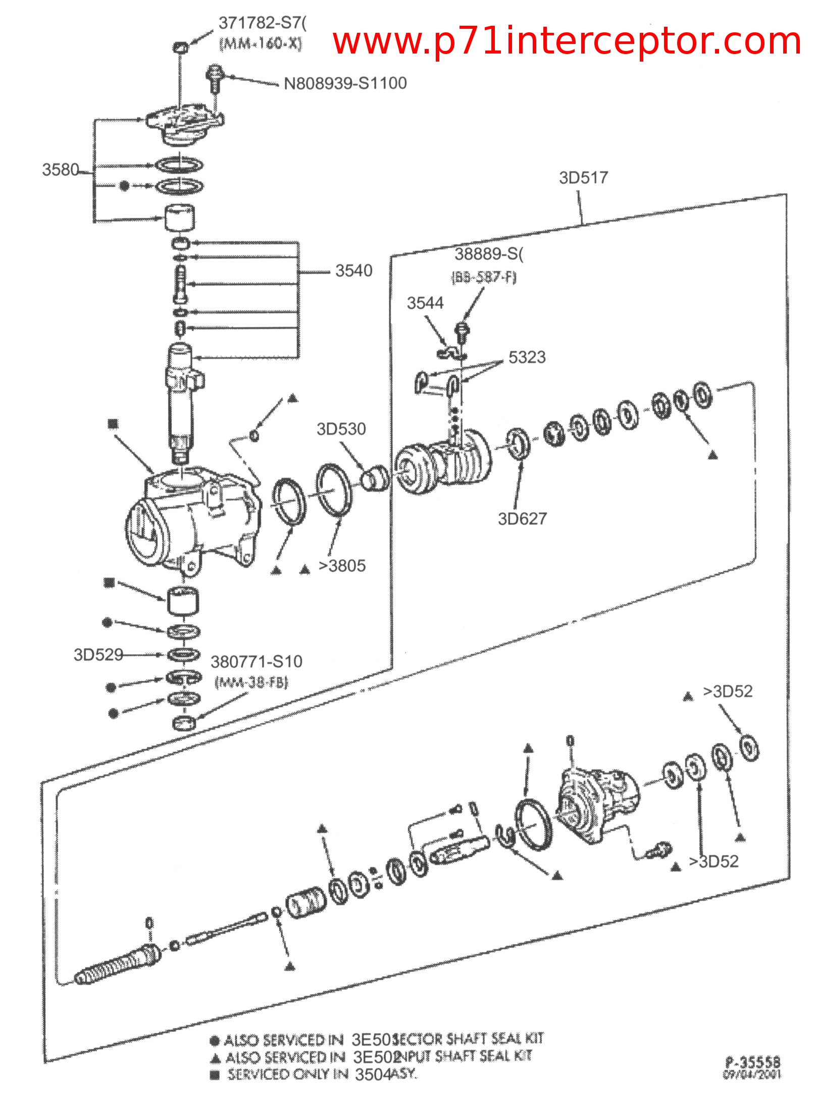
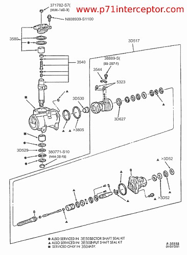
And some parts diagrams

